高考结束后,为给考生和家长提供全面系统、贴心细心的服务,充分满足考生咨询和高校在豫招生需求,河南省教育厅重磅推出“豫”见大学——2022河南高招特别策划,为河南高考生保驾护航!

2022河南高招志愿填报
正在进行中
考生进入关键阶段
为帮助广大考生
“豫”见理想大学
省教育厅联合省内外多所高校
分享学校往年报考位次
招生计划、专业设置等信息
今天推出
河南师范大学
该校概况如何?
招生计划是怎样的?
历年录取分数线是多少?
招生政策有哪些新变化?
这里给你答案!
↓↓↓
请简要介绍下学校的基本情况。
河南师范大学位于豫北名城、全国文明城市新乡市,其前身是始建于1923年的中州大学,迄今已有99年办学历史,明年将迎来百年校庆。学校北依太行、南临黄河,境内有京广高铁、郑济高铁、新荷铁路、新月铁路等,交通十分便利。
学校是河南省人民政府与教育部共建高校、国家中西部高等教育振兴计划支持高校、国家“111计划”实施高校、教育部本科教学工作水平评估优秀高校、国家大学生创新性实验计划实施高校。也是国家卓越教师、卓越农林人才计划实施高校、河南省特色骨干大学,河南省“双一流”学科创建高校,三度蝉联全国文明单位。2020年以河南高校第一名的成绩入选全国文明校园,2021年全球自然指数综合排名位居中国高校第70位,省内第3位,全国师范大学第9位。2022软科中国大学排名省内第3位。

近年来,学校发展势头强劲,成效显著。2018年一级博士点一次性新增9个,新增数量位列全国高校第四、河南高校第二,通过率位列全国高校第二、河南高校第一。2018年学校获得国家教学成果二等奖3项,名列河南省第一位;获得国家创新引智基地(“111计划”)项目2个,名列全省前茅。2019年学校同时获得国家“杰青”和国家“优青”项目,在河南高校尚属首次。2020年,学校4个学科入选河南省特色骨干学科A类学科,名列全省第一位,并且拥有全省唯一的文科类A类特色骨干学科—教育学,实现了学校学科建设的新突破。2022年,新乡市政府与学校在平原示范区签约共建科技创新港项目,此项目占地面积约3200亩,是学校与新乡市站位全局、协同落实省委“创新驱动、科教兴省、人才强省”战略,建成后将会大大提升学校的办学条件和空间。

(一)和去年相比,2022年学校招生计划和招生政策有哪些新变化?
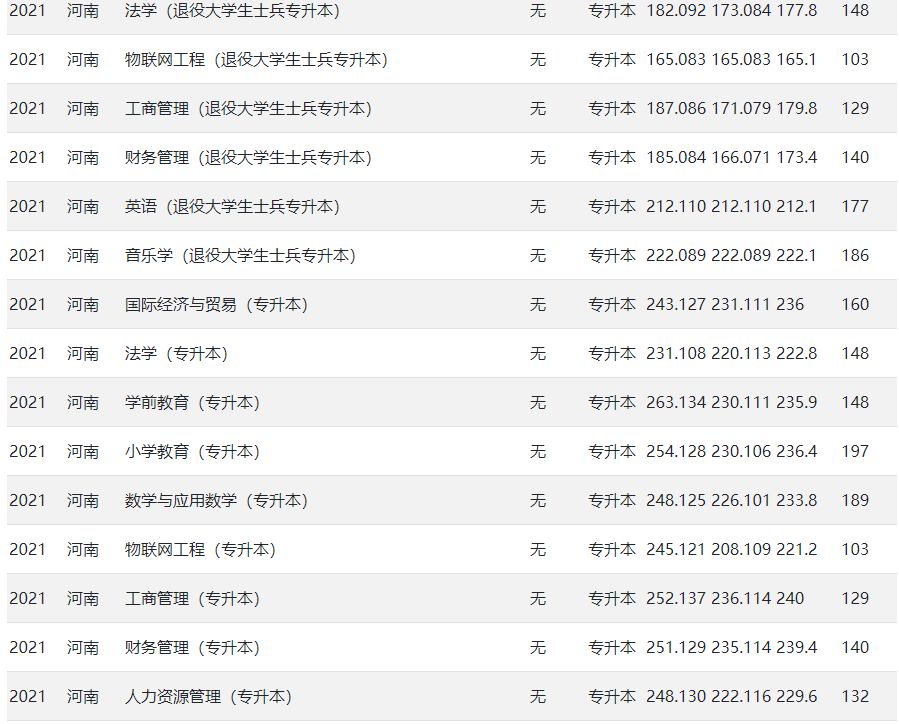
2022年学校普通全日制本科计划招生1万人左右,专升本计划招生529人。变化主要有以下几个方面:一是招生专业方面学校今年新增了地理科学与俄语这两个师范专业;运动训练、运动人体科学专业性质由非师范调整为师范。二是作为河南省首批省级特色示范性软件学院,今年学校在招生计划上仍给予了极大的倾斜,软件学院今年的招生计划为1980人,招生批次仍在本科二批;三是今年继续学校承担了河南省的“地方优师专项计划”公费师范生的定向招生任务的215人(此计划共515人),实行“省来县去”的招生政策。这些学生在校期间实行“两免一补”政策,免除学费、住宿费,并补助生活费。毕业后原则上安排在定向的县(市、区)域内的中小学校任教,服务期不少于 6 年。





(二)学校优势专业或特色专业有哪些?
学校现有理学、工学、农学、哲学、经济学、法学、教育学和文学等11个学科门类,有25个学院(学部),88个本科专业,其中国家一流本科专业建设点有34个,省级一流专业建设点23个。有博士学位授权一级学科10个、博士学位专业类别1个,博士后科研流动站7个,省部级以上重点实验室55个。拥有河南省一级重点学科28个,化学、工程学、材料科学与工程、环境/生态学4个学科持续进入ESI全球前1%。学校ESI综合排名位居中国内地高校第126位、全国地方师范大学第6位、河南省高校第3位;化学、环境科学、物理学等3个学科进入本领域自然指数中国内地高校百强榜。化学、物理学入选河南省“双一流”创建学科。
作为区域示范性师范大学,学校数学、物理、化学、生物、汉语言文学等23个师范专业具有明显的特色和优势。化工制药等一批应用性专业在服务地方经济社会发展中发挥了重要作用。研发的1.1类新药—阿兹夫定、选育的豫稻518水稻新品种、豫金1号金银花新品种、新型锂离子电池隔膜材料等一批拥有自主产权的产品成功转化,产生显著的经济社会效益。

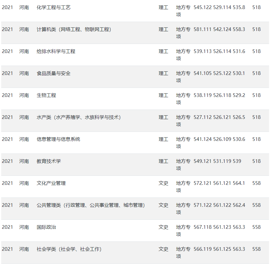
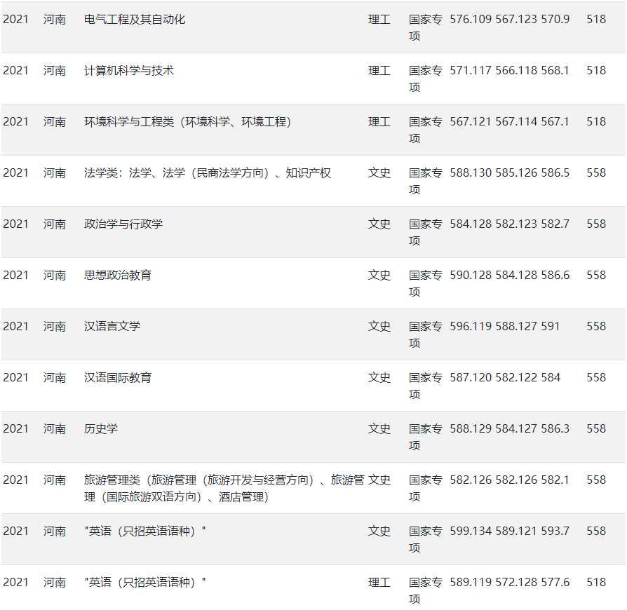
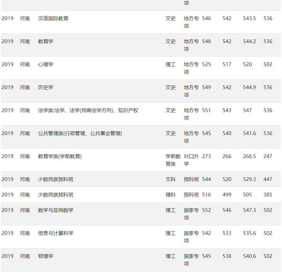
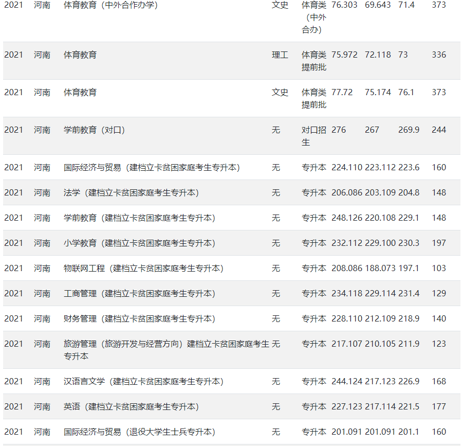
(三)请介绍下贵校往年的录取分数及位次情况。
学校的文理科除了艺术类、体育类、专升本以及软件学院和中外合作办学外,基本上都在本科一批录取,近几年,学校文科一般高出省定一本线10分到20分,考生位次大概在14000左右;理科一般高出一本线30分左右,考生位次大概在70000左右。软件学院一般低于一本线20分左右,中外合作办学一般低于一本线30分左右。欢迎大家积极报考河南师范大学。

(四)请介绍一下学校转专业的政策。
在转专业方面,学校一向坚持“以学生为中心,注重学生个性发展”的教育理念,按照“公平、公正、公开”的原则开展转专业工作。按照教育部和河南省教育厅的有关规定,转专业工作一般安排在第二学期进行,凡是达到学校和学院转专业条件的,只要学生提出申请,学院考核同意,基本上都可以满足学生的诉求。

(五)请介绍一下学校对新生的资助和激励政策。
学校对新生的资助政策有三个方面:
一是报到前,如果学生家庭有特殊困难,无力购买车票,可以联系学校学生资助中心,提前进行车票补助。
二是在报到期间,学校开通有“绿色通道”,对家庭经济特别困难的学生可以暂缓缴纳相关费用,做到拎包报到。
三是学生报到到校以后,学校为家庭经济困难学生提供10余项资助措施。如资助学费、住宿费,办理国家助学贷款、享受国家助学金、国家困难补助等。
总之,入学不愁、上学无忧,不让一个学生因为家庭经济困难而失学,这是学校对学生的庄严承诺。

(六)学校在河南的录取原则是怎样的?在填报志愿方面,您有哪些建议?
在录取批次上,除艺术类、体育类、专升本、软件学院和中外合作办学等专业外,其它专业都在本科一批录取。
学校普通类专业招生录取原则是:对进档考生按照“分数优先、遵循志愿”的原则进行录取:即优先满足高分考生的专业志愿;在进行专业分配时,先分配有专业志愿的考生的专业。考生志愿无法满足时,若服从专业调剂,则调剂到招生计划尚未完成的专业,若不服从专业调剂,则作退档处理。遇到投档成绩相同时,按照语文、数学、外语单科成绩排序综合考虑安排专业。平行志愿投档录取后,未完成的计划,将按照招生主管部门的规定重新征集志愿。另外,对于进行高考改革的省份,学校按照考生当地省级招生主管部门公布的招生政策和投档录取模式执行。
艺术类、体育类的具体的录取原则:请大家登录学校招办网站查询学校的2022年招生章程,上面有分专业清晰的描述。需要特别说明的是,为了方便大家解决艺术、体育类综合分换算难的问题,在学校招办的官方网站首页开发有“综合分数计算器”,大家只需要选择专业类型,再输入文化分数和专业分数就可以算出报考学校的综合分数。
另外,在招生办的官方网站点击进入“历年分数查询栏目”可以查询到近7年来学校各专业的录取分数。方便大家参考。
填报志愿方面的几点建议:首先,你应该问一下自己,你的梦想是什么。明确了自己的梦想,你就知道从事什么职业。找到了心仪的职业,就能确定报考方向。最后再结合自己的分数和发展方向确定高校即可。填报志愿,对平行志愿的批次我建议采用“冲一冲、稳一稳、保一保”的报考思路。先冲击一下往年录取分数比你的分数相对要高的高校。再填报往年录取分数和你的分数最接近的、也是今年最有可能录取你的高校。最后填报一两所往年录取分数比你高考分数相对要低的高校,避免志愿落空,滑落下一个批次。

(一)请介绍下学校在人才培养方面有哪些特色?
学校围绕“学生中心、产出导向”的人才培养理念,不断创新人才培养模式,有效提高人才培养质量。主要体现在二个方面:
一是切实加强“三风建设”,即教风、学风、考风,通过全面净化教学风气,营造良好学习氛围,完善考试评价机制等,“学在师大”已成为学校最靓丽的一张名片。学霸宿舍随处可见,部分学院考研率超过70%。学校以“校风淳、教风正、考风严、学风浓”享誉中原,“学在师大、心系国家”一直是学校闪亮的名片。学校第二课堂内容丰富多彩,大学生基本技能大赛、“阅享经典书香师大”读书活动、五四歌会、榜样师大、新生音乐会、毕业晚会、草地音乐会等一系列校园文化品牌活动,全方位助力学生成长成才。学生在中国“互联网+”大学生创新创业大赛、“挑战杯”全国大学生课外学术科技作品竞赛、“创青春”全国大学生创业大赛、全国大学生数学建模竞赛等国际、国内竞赛中获得省部级以上奖励1100余项。在教育部主办的“东芝杯”中国师范大学理科师范生教学技能创新大赛中,团体成绩连续6届位列全国师范大学前三名,并获得第七届大赛唯一最高奖—创新奖。厚重的校园文化也孕育出了荣登“中国好人榜”的“最美塞钱女孩”赵莉莉以及在疫情期间组织2000多名大学生志愿者为全国中小学生义务上网课的学生万通等一批批优秀学子。
二是稳步推进“三制改革”,学校在书院制、完全学分制、学业导师制等方面正在进行有益探索和大胆改革,为学生提供更为贴心的成长环境,逐步形成“三全育人”的人才培养格局。

(二)在校生是否有出国和对外交流的机会?
河南师范大学坚持开放办学,与境外70多所高水平院校和科研机构建立了长期友好合作关系。与法国、美国、白俄罗斯等国家知名高校合作举办了4个中外合作办学本科教育项目,联合培养法语、体育教育、电气工程及其自动化、环境工程等专业人才,合作项目在校生人数已经达到2000余人。
此外,学校还与美国普利茅斯州州立大学、德国法兰克福应用技术大学、韩国岭南大学等14所高校签订了校际交流协议,每年面向全校选拔一定数量的学生,参加为期半年或一年的交换生项目,在国外高校学习期间所修学分获得学校认可。
河南师范大学是国家“111计划”支持高校,学校和加拿大滑铁卢大学陈忠伟院士带领的国际领先团队合作,在新能源电池、金属空气电池的研发方面追踪国际前沿。除了教师的合作外,包括学校的本科生、博士生、博士后都可以进入国际最先进的实验室进行合作研究,已经取得非常突出的成效。

(三)学校毕业生考研/就业的情况是怎么样的?
近年来,学校的考研率稳定在30%以上,部分学院的考研率达到83%,涌现出一批学霸宿舍。学生对学校学风的满意度达到了99%,“学在师大”成为社会各界广泛认可的闪亮品牌。年终就业率稳定在90%以上,居国内高校前列。建校近百年来,学校累计培养各类人才30余万人,大批学子进入清华大学、北京大学、中国科学院大学等985、211名校深造;广大毕业生进入科研院所、知名企业、政府事业单位、教育系统成长为单位的中流砥柱,以良好的政治素质、扎实的专业技能、严谨的工作作风和骄人的工作业绩博得了社会各界的赞誉,也为母校赢得了荣誉。学校被评为“2018年度河南最具就业竞争力品牌高校”之一。

四、特殊时期,考生和家长如何获取最新招考政策?
河南师范大学联系方式:
1.河南师范大学本科招生网https://www.htu.edu.cn/main.htm
2.录取期间,学校招生热线电话:0373-3326836、3326839,3326191
河南师范大学办学历史悠久,办学实力雄厚,学科门类齐全,校风学风优良,校园文化丰富,热烈欢迎各位考生关注、报考百年名校河南师范大学,我们欢迎您的到来。
衷心祝愿各位考生取得理想成绩,考取理想的大学!

2021年














2020年

















2019年












